冶金類輸送鏈適用領域:鋼廠。鏈條使用環境較為惡劣,并需承受較大的載荷,和較高的溫度。
鏈條選用合金鋼材料,對于有部分需承受較大的載荷的鏈條采用了專用的軸承作為鏈條的轉動零件。使鏈條的承載力更大,同時也降低了鏈條的運行負荷
工廠生產的輸送鏈支持鋼卷和鋼板運輸,另外,我們可以提供鋼材廠原料冷卻和干燥鏈條,鋼錠提升鏈條,鋼管推頭鏈條等其他用途鏈條

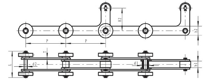
| Pitch P (mm) | Inner width of inner link b1 (mm) | Diameter of roller d1 (mm) | Diameter of pin d2 (mm) | Length of pin (mm) | Height of sidebar h2 (mm) | Thickness of sidebar T (mm) | Height of top chain H2 (mm) | Tensile strength Q (KN) |
| 135 | 45 | 50 | 30 | 103.5 | 90 | 12 | 120 | 500 |

| Pitch P (mm) | Inner width of inner link b1 (mm) | Diameter of roller d1 (mm) | Diameter of pin d2 (mm) | Length of pin (mm) | Height of sidebar h2 (mm) | Thickness of sidebar T (mm) | Height of top chain H2 (mm) | Tensile strength Q (KN) |
| 135 | 45 | 50 | 25 | 100 | 80 | 8 | 150 | 320 |

| Pitch P (mm) | Inner width of inner link b1 (mm) | Diameter of roller d1 (mm) | Diameter of pin d2 (mm) | Length of pin (mm) | Height of sidebar h2 (mm) | Thickness of sidebar T (mm) | Height of top chain H2 (mm) | Tensile strength Q (KN) |
| 250 | 38 | 50 | 25 | 160 | 70 | 10 | 140 | 320 |

| Pitch P (mm) | Inner width of inner link b1 (mm) | Diameter of roller d1 (mm) | Diameter of pin d2 (mm) | Length of pin (mm) | Height of sidebar h2 (mm) | Thickness of sidebar T (mm) | Height of top chain H2 (mm) | Tensile strength Q (KN) |
| 220 | 37 | 36 | 19.05 | 146 | 50 | 8 | 125 | 200 |

| Pitch P (mm) | Inner width of inner link b1 (mm) | Diameter of roller d1 (mm) | Diameter of pin d2 (mm) | Length of pin (mm) | Height of sidebar h2 (mm) | Thickness of sidebar T (mm) | Height of top chain H2 (mm) | Tensile strength Q (KN) |
| 125 | 40 | 56 | 30 | 176 | 70 | 10 | 120 | 315 |

| Pitch P (mm) | Inner width of inner link b1 (mm) | Diameter of roller d1 (mm) | Diameter of pin d2 (mm) | Length of pin (mm) | Height of sidebar h2 (mm) | Thickness of sidebar T (mm) | Height of top chain H2 (mm) | Tensile strength Q (KN) |
| 100 | 40 | 46 | 20 | 148 | 60 | 8 | 80 | 175 |
Related Names
Cranked Link Chain | Steel Mill Chain | Slat Conveyor Chain


